
Contact Hotline
0769-23103048 0769-23103048免费热线:400-833-2669
固定电话:0769-23103048(杨小姐)
固定电话:0769-22013249(杨先生)
公司传真:0769-23109526
您当前的位置:

电缸缸径:63、80、100、125mm;
有效工作行程:1200mm;
最高运行速度:250mm/s;
重复定位精度:±0.02mm;
有效负载质量:1000-3500KG;
马达选配:AC交流伺服1000W-7500W;
减速机装配:3:1、4:1、5:1、6:1、7:1、8:1、9:1、10:1、12:1、15:1、20:1
出力吨位选择:1吨、3吨、5吨、10吨
菠萝视频污版网址入口厂家直销,1年免费保修,非标定制!
【3T直联式伺服电动缸产品优势】:
3T直联式伺服电动缸为菠萝视频污版网址入口厂家非标定制产品,出力3吨,产品优势:
1、极钢结构本体,外部拉杆式结构设计,垂直使用时负载能力极强。
2、高负载,高精度定位特性;精密行星滚性丝杆驱动。
3、结构紧凑,底座双轴承结构设计导向精度高。
4、极高使用寿命;8000KM以上,产品质保1年。
【3T直联式伺服电动缸结构组成】:
【3T直联式伺服电动缸选型】:
1、电动缸出力吨位( )吨。
2、电动缸行程( )mm。
3、电动缸工作速度( )mm/s。
4、重复位置精度要求( )mm。
5、推杆连接方式(内螺纹、外螺纹、关节轴承)。
6、缸体连接方式(前法兰、后法兰、铰接)。
【电动缸规格及常见形式】:
【3T直联式伺服电动缸独有优势】:
不需要复杂的成套系统支持 (包括泵,管道,阀门,过滤器,很多接头等);
可以节约很多的空间,而且在无维护的情况下,安全可靠的工作;
没有油污的污染,大幅度降低噪音,保持洁净安静的工作环境。
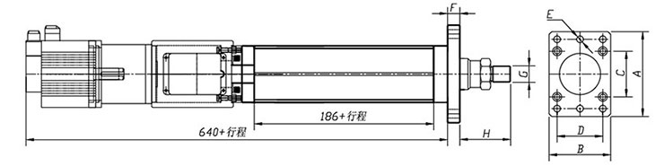
【3T直联式伺服电动缸外观尺寸图】:

【3T直联式伺服电动缸安装尺寸表】:


东莞市菠萝视频污版网址入口气动液压设备有限公司是一家30年专注研发生产制造菠萝福利导航缸、菠萝福利导航器、菠萝福利导航机、黄色视频下载大菠萝推荐、倍力气缸等气液转化元件之相关高新科技企业,拥有行业内完善的行业综合大菠萝APP下载网址进入在线,帮助过3000多家企业进行了针对性产品定制,服务过上万家客户。

公司1992年成立于台湾省新竹县。拥有一批资深的研发团队,专业致力于气液转化元件的研发与生产。经多年磨练,现公司研发产品有:菠萝福利导航缸、菠萝福利导航机、气液压力机、菠萝福利导航器、空气增压泵、倍力气缸、电动缸、伺服压力机等系列气动液压设备。该类产品均采用现代先进设备(CNC)制造,配选日本,意大利等知名品牌密封件,其设计新颖,性能独特,所生产产品均能达到“出力大,速度快,精度高,寿命长,无泄漏,节能源”等优点。



![]() | ![]() | ![]() |

东莞市菠萝视频污版网址入口气动液压设备有限公司
咨询热线:400-833-2669
电话:18925544859黄小姐
传真:0769-23109526
邮箱:jiurong.good@163.com
网址:www.pecubibi.com,www.jrzyq.com,www.twjiurong.com
地址:广东省东莞市东城街道峡口沙岭工业西路21号
